鑄制Y型過濾器產品概述
SY14C、SY14S鑄制Y型過濾器是一種器體和器蓋為整體鑄造成型,濾芯采用鋼板卷制且帶有較大方孔或圓孔的筒型支承架,內表面覆以不銹鋼紗網的雙層濾網形式的Y型過濾器,其器體包括呈Y字形排布的進流段、過濾段及出流段,過濾段內周沿周向設置有環形限位部,并開設有與外界聯通的筒形濾網安裝口及封閉它的器蓋,筒形濾網則抵于器蓋與環形限位件之間,當流體從進流段進入殼體內,經過過濾段的濾芯時,其中的固體雜質被絲網阻擋,而潔凈的液體或氣體物料則能從出流段流出。本產品是輸送介質的管路系統不可或缺的一種裝置,它通常安裝在減壓閥、疏水閥、定水位閥、泵、壓縮機的入口端或流量儀表前的管道上,用來濾除介質中的雜質,以保護此類閥門或設備的正常使用。本產品具有結構簡單、阻力小、排污方便等特點,特適用于石油、石化、化工、電力、冶金、造紙、輕紡、水處理、制藥、食品等行業。
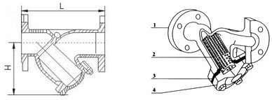
鑄制Y型過濾器部件材料
| 序號 | 部件名稱 | 材料名稱 | |||||
| 1 | 器 體 | WCB | WC6 | CF8 | CF3 | CF8M | CF3M |
| 2 | 器 蓋 | WCB | WC6 | CF8 | CF3 | CF8M | CF3M |
| 3 | 過 濾 網 | 304 | 304 | 304 | 304L | 316 | 316L |
| 4 | 墊 片 | 聚四氟乙烯、金屬環形墊、金屬纏繞墊(帶內外環) | |||||
| 5 | 螺 栓 | 35CrMoA | 35CrMoA | 304 | 304 | 316 | 316 |
| 6 | 螺 母 | 30CrMo | 30CrMo | 304 | 304 | 316 | 316 |
| 7 | 排污螺塞 | 304 | 304 | 304 | 304L | 316 | 316L |
鑄制Y型過濾器技術規范
| 公稱壓力PN(MPa) | 1.0 | 1.6 | 2.5 | 4.0 | 2.0 | 5.0 |
| 殼體試驗壓力(MPa) | 1.5 | 2.4 | 3.75 | 6.0 | 3.0 | 7.5 |
| 氣密性試驗壓力(MPa) | 1.0 | 1.6 | 2.5 | 4.0 | 2.0 | 5.0 |
| 設計制造 | HG/T 21637-1991 化工管道過濾器 | |||||
| 法蘭標準 | JB/T 79、GB/T 9113、HG/T 20592、HG/T 20615、SH/T 3406、ASME B16.5等 | |||||
| 檢驗試驗 | HG/T 21637-1991 化工管道過濾器 | |||||
| 過濾精度 | 20μm ~ 16000μm | |||||
| 工作溫度 | 碳鋼為-20℃ ~ 400℃、不銹鋼為-196℃ ~ 400℃ | |||||
鑄制Y型過濾器主要尺寸
| 公稱壓力 PN | 公稱尺寸 DN | 結構尺寸/mm | 公稱壓力 PN | 公稱尺寸 DN | 結構尺寸/mm | ||
| L | H | L | H | ||||
| 16 | 15 | 134 | 60 | 16 | 125 | 350 | 205 |
| 20 | 142 | 70 | 150 | 385 | 260 | ||
| 25 | 152 | 70 | 200 | 485 | 300 | ||
| 32 | 183 | 75 | 250 | 552 | 380 | ||
| 40 | 200 | 90 | 300 | 606 | 410 | ||
| 50 | 216 | 105 | 350 | 668 | 480 | ||
| 65 | 250 | 150 | 400 | 755 | 540 | ||
| 80 | 285 | 175 | 450 | 853 | 580 | ||
| 100 | 305 | 200 | 500 | 890 | 645 | ||
| 125 | 350 | 205 | 600 | 1060 | 950 | ||
| 表中未列出的其他規格尺寸,請咨詢汗越閥門技術部! | |||||||
鑄制Y型過濾器結構圖

如果你需訂購我廠Y型過濾器產品,咨詢時煩請注明產品型號,如無法提供型號數據,請說明公稱通徑、公稱壓力、殼體和濾網材質、使用介質、過濾精度,是否配對法蘭、螺栓螺母及墊片等,我公司可按客戶需求承接定制。
網站首頁